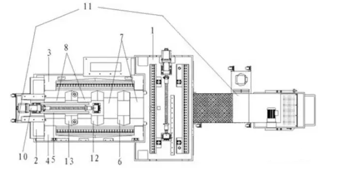
立式加工中心和卧式加工中心是最常见的加工中心分类。在加工行程相同的情况下立式加工中心不论从价格优惠程度还是使用广泛方面都优于卧式加工中心。而卧式加工是一种可实现多轴联动加工的高端数控机床,广泛用于汽车、航天航空、军工领域的各类复杂零件的机械加工,为不断减小机床自身热变形、提高机床加工精度,机床制造商一直致力于降低机床各部件的温升和温度差异,切屑作为机床加工过程中的最重要热源,实现其快速排除机床是解决上述问题的关键,通过不同的底座结构,实现切屑快速排除机床是最重要的方法。 成海小编总结现有的卧式加工中心底座,有2种结构:
第一种(如图 1)底座结构 :在底座(1)的 Z 轴驱动(4)两侧,开 2 个贯穿整个底座的方 腔(2)(3),将螺旋排屑器(5)(6)置于方腔中,这一结构,落屑和排屑空间小,切削热在狭 窄的排屑通道内,通过各金属件向底座传导,且不利于超大流量冷却的切削液回流。

第二种(如图2)底座结构:在底座(1)后部的加工侧,设置一个半截大空腔(2),将加宽的链板排屑器(5)置于空腔(2)内。在底座(1)前部的非加工侧,采用2个螺旋排屑器(3)(4),将非加工侧飞溅的零星切屑导入链板排屑器(5),这一结构,相比第一种结构,提升 了机床排屑能力,实现了加工侧切屑和切削液的迅速排除底座,但是,其多个排屑器组合和 底座(1)内部的前后阶梯设计,增加了结构的复杂程度和机床防护设计、制造和后期维护的 难度,非加工侧,飞溅的切屑仍然会将切削热通过排屑器等金属零件向底座传导。

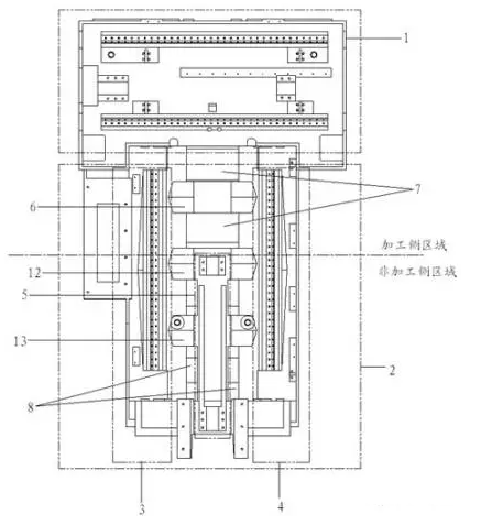
卧式全贯穿中央驱动机床底座结构

包括 :X轴底座、Z轴底座、Z轴导轨左支 撑体、Z轴导轨右支撑体、桥式横撑、加工侧落屑 通道、非加工侧落屑通道、全贯穿底座空腔、Z 轴 驱动、Z 轴驱动安装体和链板排屑器。卧式全贯穿中央驱动机床底座结构,通 过创新的结构阻断切削热向底座的传导和超大流 量切削液的快速回流,降低了机床加工 过程中底座的温升和与其它部件的温度差异,减 小了底座热变形,保证了机床加工精度。
设计目的
本技术是提供:一种卧式全贯穿中央驱动机床底座结构,通过气动方式实现刀架的锁紧和松开,通过伺服电机和同步带轮实现刀架的准确换刀,具有可靠性能高、定位精确、结构紧凑、转位速度快、噪音小,价格低廉等优点,同时在小型数控机 床的应用及普及上有着广泛的市场前景。

为解决上述技术问题,采用的技术方案是 :
其包括:X轴底座、Z轴底座、Z轴导轨左支撑体、Z轴导轨右支撑体、桥式横撑、加工侧落屑通道、非加工侧落屑通道、全贯穿底座空腔、Z轴驱动、Z轴驱动安装体和链板排屑器。

所述第二横撑到所述X轴底座之间的区域为加工侧区域,所述第二横撑到所述Z轴底座底部之间的区域为非加工侧区域,所述第一横撑与所述X轴底座之间和所述第一横撑与所述第二横撑之间设置有所述加工侧落屑通道,所述第三横撑与所述Z轴底座底部之间设置有所述非加工侧落屑通道。

所述Z轴驱动安装体的上部设置于所述第二横撑和所述第三横撑上,所述Z轴驱动安装体的下部设置于所述Z轴底座的底部上,所述Z轴驱动设置于所述Z轴驱动安装体上,所述链板排屑器的一端贯穿于所述全贯穿底座空腔内并延伸至所述Z轴底座的外部。





在线咨询